Сборка 57829343 (2657829343) приборы управления, LP, CAT» относится к консоли оператора буровой установки Epiroc DM45/DM50. Узел объединяет индикацию давления, органы управления двигателем и электрическую защиту для надёжной работы в карьере.
Список запчастей
| Ref. | Номер детали | Альт. номер | Описание |
|---|---|---|---|
| 001.0 | 54413000 | 2654413000 | Манометр, с демпфером |
| 002.0 | 56951395 | 2656951395 | Манометр, давление воздуха — 400 PSI |
| 003.0 | 57428393 | 2657428393 | Манометр, давление воздуха — 160 PSI |
| 004.0 | 95933248 | 2695933248 | Винт, полукруглая головка |
| 005.0 | 95922548 | 2695922548 | Шайба стопорная |
| 006.0 | 95076717 | 2695076717 | Гайка шестигранная (машинная) |
| 007.0 | 57493868 | 2657493868 | Дроссель электронный — CAT |
| 008.0 | 58038761 | 2658038761 | Уровень |
| 009.0 | 95293353 | 2695293353 | Переходник |
| 010.0 | 855017P0286 | 26855017P0286 | Кнопка (переключатель) |
| 011.0 | 57744633 | 2657744633 | PowerView, FW Murphy |
| – | 57910101 | 2657910101 | Жгут, защита от перенапряжений |
| 012.0 | 57755670 | 2657755670 | Тахометр, PowerView, 3.5" |
| 013.0 | 57744641 | 2657744641 | Манометр, давление масла |
| 014.0 | 57744658 | 2657744658 | Манометр, температура воды |
| 015.0 | 57409096 | 2657409096 | Манометр электрический — температура |
| 016.0 | 52185832 | 2652185832 | Переключатель, кнопочный |
| 017.0 | 56993678 | 2656993678 | Переключатель, ключевой |
| 018.0 | 57084055 | 2657084055 | Автоматический выключатель — 15 А |
| 019.0 | 57117848 | 2657117848 | Автоматический выключатель — 5 А |
| 020.0 | 57091274 | 2657091274 | Автоматический выключатель — 20 А |
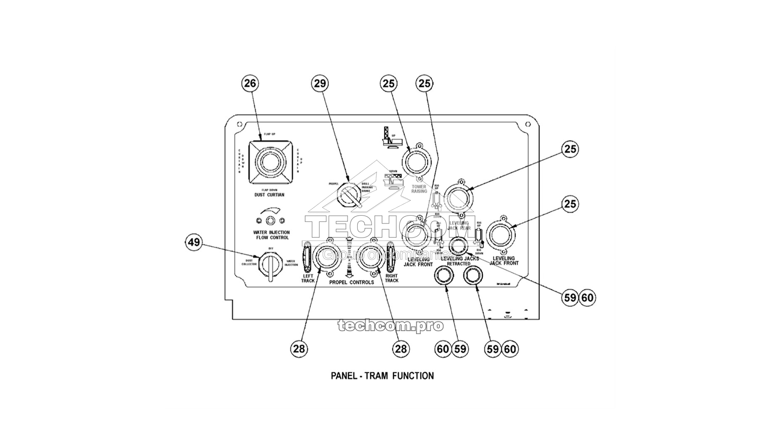
| 021.0 | 56762198 | 2656762198 | Тумблер — SPST |
| 022.0 | 57179608 | 2657179608 | Переключатель SPST / Вкл-Выкл |
| 023.0 | 95076709 | 2695076709 | Гайка шестигранная машинная № 4-40 |
| 024.0 | 57438889 | 2657438889 | Индикатор 24 В, жёлтый |
| 025.0 | 57338238 | 2657338238 | Контроллер, дистанционный пропорциональный |
| – | 57740748 | 2657740748 | Выключатель конечный миниатюрный |
| 026.0 | 57502031 | 2657502031 | Контроллер, двухосевой |
| 027.0 | 57389561 | 2657389561 | Контроллер, насос |
| 028.0 | 57400350 | 2657400350 | Контроллер, насос |
| 029.0 | 57332215 | 2657332215 | Переключатель, 2-позиционный |
| 030.0 | 57370397 | 2657370397 | Уплотнение, отверстие — консоль |
| 031.0 | 57015521 | 2657015521 | Рукав в сборе |
| 032.0 | 56972672 | 2656972672 | Рукав в сборе |
| 033.0 | 58170465 | 2658170465 | Рукав в сборе |
| 034.0 | 58170465 | 2658170465 | Рукав в сборе |
| 035.0 | 57491813 | 2657491813 | Индикатор 24 В, красный |
| 036.0 | 54498357 | 2654498357 | Контроллер, пропорциональный поворотный |
| 037.0 | 95371704 | 2695371704 | Фитинг, гидравлический |
| 038.0 | 95929766 | 2695929766 | Шайба стопорная — № 4 стандарт |
| 039.0 | 95475869 | 2695475869 | Винт, машинный |
| 042.0 | 57500324 | 2657500324 | Контроллер, рычажный |
| 043.0 | 95931564 | 2695931564 | Гайка шестигранная, чистовая |
| 044.0 | 95934766 | 2695934766 | Шайба стопорная, пружинная |
| 045.0 | 95920724 | 2695920724 | Винт с шестигранной головкой |
| 046.0 | 57498339 | 2657498339 | Резистор CF 0,25 Вт 5,1 кОм |
| 047.0 | 58145392 | 2658145392 | Резина |
| – | 58203035 | 2658203035 | Резина |
| 048.0 | 95349023 | 2695349023 | Винт, машинный |
| 049.0 | 57332199 | 2657332199 | Переключатель, 3-позиционный |
| 050.0 | 57394603 | 2657394603 | Реле DPDT, катушка 24 В |
| 051.0 | 57216913 | 2657216913 | Тумблер |
| 052.0 | 50270040 | 2650270040 | Сигнальная лампа (pilot light) |
| 053.0 | 56275449 | 2656275449 | Лампа светодиодная, красная, 24 В |
| 054.0 | 57534281 | 2657534281 | Указатель уровня топлива — 24 VDC |
| – | 57534315 | 2657534315 | Панель, один индикатор |
| 055.0 | 57443954 | 2657443954 | Комплект подсветки индикатора — 24 VDC |
| 056.0 | 57498016 | 2657498016 | Счётчик моточасов |
| 057.0 | 95482451 | 2695482451 | Соединитель, 1–45° |
| 058.0 | 57807364 | 2657807364 | Индикатор панели, синий |
| 059.0 | 57266181 | 2657266181 | Лампа сигнальная |
| 060.0 | 56275431 | 2656275431 | Лампа светодиодная, зелёная, 24 В |
Поставляемый как полный пакет приборов, 57829343 (2657829343) обеспечивает надёжный мониторинг и управление на установках DM45/DM50. TechCom поставляет полный комплект и оригинальные компоненты консоли. Смотреть все запчасти для Epiroc DM45/DM50.