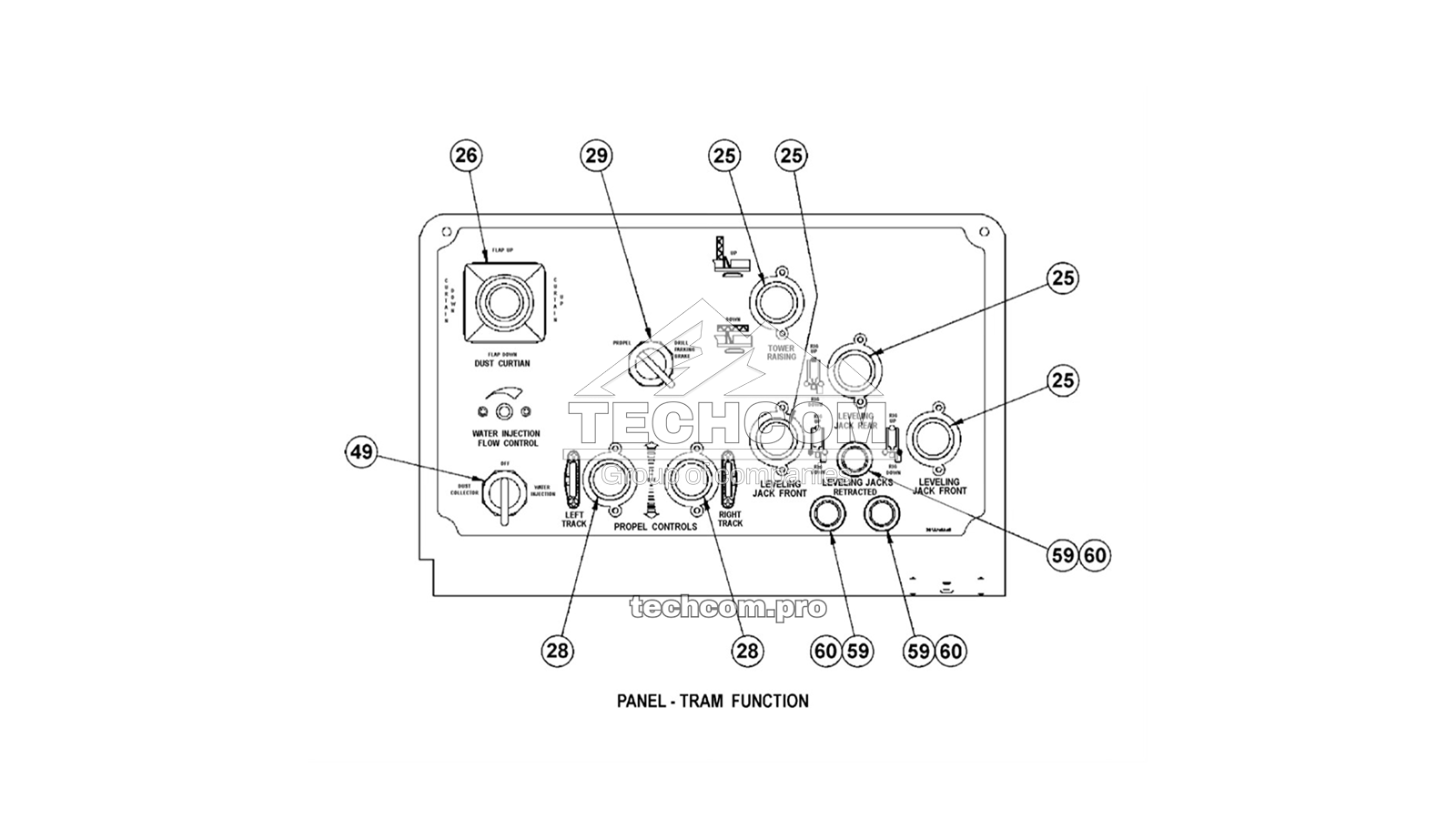
El conjunto 57829343 (2657829343) de instrumentos/controles LP, CAT pertenece a la consola del operador de la perforadora Epiroc DM45/DM50. Consolida la indicación de presión, los controles del motor y la protección eléctrica para un funcionamiento fiable en condiciones mineras.
Lista de repuestos
| Ref. | N.º de pieza | N.º alt. | Descripción |
|---|---|---|---|
| 001.0 | 54413000 | 2654413000 | Manómetro de presión con amortiguador |
| 002.0 | 56951395 | 2656951395 | Manómetro, presión de aire – 400 PSI |
| 003.0 | 57428393 | 2657428393 | Manómetro, presión de aire – 160 PSI |
| 004.0 | 95933248 | 2695933248 | Tornillo, cabeza redonda |
| 005.0 | 95922548 | 2695922548 | Arandela de seguridad |
| 006.0 | 95076717 | 2695076717 | Tuerca hexagonal (máquina) |
| 007.0 | 57493868 | 2657493868 | Acelerador electrónico – CAT |
| 008.0 | 58038761 | 2658038761 | Nivel |
| 009.0 | 95293353 | 2695293353 | Adaptador |
| 010.0 | 855017P0286 | 26855017P0286 | Interruptor pulsador |
| 011.0 | 57744633 | 2657744633 | PowerView, FW Murphy |
| – | 57910101 | 2657910101 | Arnés, protector contra sobretensión |
| 012.0 | 57755670 | 2657755670 | Tacómetro, PowerView, 3.5 |
| 013.0 | 57744641 | 2657744641 | Manómetro, presión de aceite |
| 014.0 | 57744658 | 2657744658 | Manómetro, temperatura de agua |
| 015.0 | 57409096 | 2657409096 | Manómetro eléctrico – temperatura |
| 016.0 | 52185832 | 2652185832 | Interruptor pulsador |
| 017.0 | 56993678 | 2656993678 | Interruptor con llave |
| 018.0 | 57084055 | 2657084055 | Disyuntor – 15 A |
| 019.0 | 57117848 | 2657117848 | Disyuntor – 5 A |
| 020.0 | 57091274 | 2657091274 | Disyuntor – 20 A |
| 021.0 | 56762198 | 2656762198 | Interruptor de palanca – SPST |
| 022.0 | 57179608 | 2657179608 | Interruptor SPST / ON-OFF |
| 023.0 | 95076709 | 2695076709 | Tuerca hexagonal máquina Nº 4-40 |
| 024.0 | 57438889 | 2657438889 | Indicador 24 V, amarillo |
| 025.0 | 57338238 | 2657338238 | Controlador, proporcional remoto |
| – | 57740748 | 2657740748 | Interruptor, fin de carrera miniatura |
| 026.0 | 57502031 | 2657502031 | Controlador, doble eje |
| 027.0 | 57389561 | 2657389561 | Controlador, bomba |
| 028.0 | 57400350 | 2657400350 | Controlador, bomba |
| 029.0 | 57332215 | 2657332215 | Interruptor, 2 posiciones |
| 030.0 | 57370397 | 2657370397 | Sello, orificio – consola |
| 031.0 | 57015521 | 2657015521 | Conjunto de manguera |
| 032.0 | 56972672 | 2656972672 | Conjunto de manguera |
| 033.0 | 58170465 | 2658170465 | Conjunto de manguera |
| 034.0 | 58170465 | 2658170465 | Conjunto de manguera |
| 035.0 | 57491813 | 2657491813 | Indicador 24 V, rojo |
| 036.0 | 54498357 | 2654498357 | Controlador, proporcional rotativo |
| 037.0 | 95371704 | 2695371704 | Racor hidráulico |
| 038.0 | 95929766 | 2695929766 | Arandela de seguridad – Nº 4 estándar |
| 039.0 | 95475869 | 2695475869 | Tornillo, máquina |
| 042.0 | 57500324 | 2657500324 | Controlador, palanca |
| 043.0 | 95931564 | 2695931564 | Tuerca hexagonal, acabada |
| 044.0 | 95934766 | 2695934766 | Arandela de seguridad helicoidal |
| 045.0 | 95920724 | 2695920724 | Tornillo de cabeza hexagonal |
| 046.0 | 57498339 | 2657498339 | Resistencia CF 0.25W 5.1K |
| 047.0 | 58145392 | 2658145392 | Goma |
| – | 58203035 | 2658203035 | Goma |
| 048.0 | 95349023 | 2695349023 | Tornillo, máquina |
| 049.0 | 57332199 | 2657332199 | Interruptor, 3 posiciones |
| 050.0 | 57394603 | 2657394603 | Relé, DPDT, bobina 24 V |
| 051.0 | 57216913 | 2657216913 | Interruptor de palanca |
| 052.0 | 50270040 | 2650270040 | Luz piloto |
| 053.0 | 56275449 | 2656275449 | Lámpara LED roja 24 V |
| 054.0 | 57534281 | 2657534281 | Manómetro, combustible – 24 VDC |
| – | 57534315 | 2657534315 | Panel, un manómetro |
| 055.0 | 57443954 | 2657443954 | Kit, luz de manómetro – 24 VDC |
| 056.0 | 57498016 | 2657498016 | Horómetro |
| 057.0 | 95482451 | 2695482451 | Conector, 1–45° |
| 058.0 | 57807364 | 2657807364 | Indicador de panel, azul |
| 059.0 | 57266181 | 2657266181 | Luz indicadora |
| 060.0 | 56275431 | 2656275431 | Lámpara LED verde 24 V |
Entregado como paquete completo de instrumentación, el 57829343 (2657829343) garantiza un monitoreo y control fiables en equipos DM45/DM50. TechCom suministra el kit completo y componentes de consola originales. Ver todos los repuestos para Epiroc DM45/DM50.