Numéro de pièce: 57752768 (2657752768)
Sous la référence 57752768 (2657752768) se trouve la cabine nue conçue pour la foreuse Epiroc DM45/L. Cette cabine constitue la base de l’espace opérateur et comprend vitrages latéraux et arrière, joints d’étanchéité, plancher, seuils, mousses, câblages ainsi que divers équipements assurant confort et sécurité dans des conditions minières exigeantes.
| Réf. No. | No. de pièce | No. alt. | Description |
|---|---|---|---|
| 002.0 | 57540916 | 2657540916 | Vitre, côté droit |
| 003.0 | 57540981 | 2657540981 | Joint caoutchouc, fenêtre décalée |
| 006.0 | 57561599 | 2657561599 | Vitre, arrière |
| 007.0 | 57540981 | 2657540981 | Joint caoutchouc, fenêtre décalée |
| 010.0 | 57561607 | 2657561607 | Vitre, avant |
| 011.0 | 57540981 | 2657540981 | Joint caoutchouc, fenêtre décalée |
| 020.0 | 57561615 | 2657561615 | Charnière, panneau de flexible droit |
| 021.0 | 57561623 | 2657561623 | Charnière, panneau de flexible gauche |
| 024.0 | 57561631 | 2657561631 | Mousse, joint |
| 027.0 | 57829301 | 2657829301 | Panneau, fonctions moteur |
| 031.0 | 54589866 | 2654589866 | Seuil, porte droite |
| 033.0 | 54589874 | 2654589874 | Seuil, porte gauche |
| 035.0 | 57541013 | 2657541013 | Tapis de sol, avant |
| 036.0 | 57561649 | 2657561649 | Tapis de sol, arrière |
| 039.0 | 57766644 | 2657766644 | Porte latérale droite, double verrouillage |
| 042.0 | 57540973 | 2657540973 | Boulon, gâche |
| 043.0 | 57561672 | 2657561672 | Vérin à gaz, porte droite |
| 044.0 | 57561680 | 2657561680 | Goujon, ressort de porte |
| 046.0 | 57561698 | 2657561698 | Butée de porte |
| 051.0 | 57541005 | 2657541005 | Joint tubulaire 90° |
| 052.0 | 57561664 | 2657561664 | Porte latérale côté tour |
| 055.0 | 57561706 | 2657561706 | Support, porte |
| 059.0 | 57540973 | 2657540973 | Boulon, gâche |
| 062.0 | 57541005 | 2657541005 | Joint tubulaire 90° |
| 063.0 | 57561714 | 2657561714 | Mousse, avant |
| 064.0 | 57561722 | 2657561722 | Mousse, côté droit |
| 065.0 | 57540908 | 2657540908 | Vitre, côté tour |
| 066.0 | 57561730 | 2657561730 | Mousse, côté tour |
| 067.0 | 57561748 | 2657561748 | Mousse, arrière |
| 068.0 | 57540981 | 2657540981 | Joint caoutchouc, fenêtre décalée |
| 069.0 | 57561755 | 2657561755 | Mousse, toit arrière |
| 070.0 | 57604845 | 2657604845 | Attache plastique |
| 071.0 | 57561763 | 2657561763 | Mousse, toit avant |
| 072.0 | 57604845 | 2657604845 | Attache plastique |
| 073.0 | 57561771 | 2657561771 | Mousse, arrière côté droit |
| 074.0 | 57561789 | 2657561789 | Mousse, arrière côté tour |
| 075.0 | 57561797 | 2657561797 | Mousse, plaques latérales |
| 076.0 | 57561805 | 2657561805 | Mousse, plaques avant/arrière |
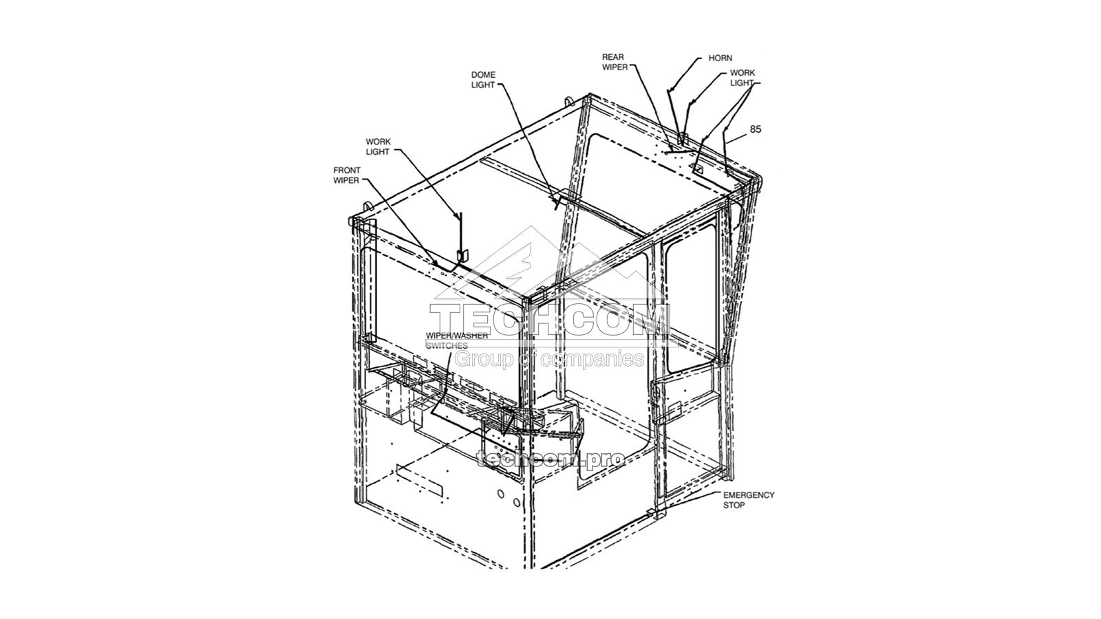
| 085.0 | 57561813 | 2657561813 | Faisceau électrique, cabine |
| 086.0 | 57561821 | 2657561821 | Passe-câble, toit |
| 090.0 | 54537139 | 2654537139 | Vis captive, ouverture rapide |
| 092.0 | 57588428 | 2657588428 | Patère, manteau |
| 094.0 | 52106457 | 2652106457 | Grille de ventilation |
| 096.0 | 57561839 | 2657561839 | Éclairage de toit |
| 097.0 | 58175019 | 2658175019 | Lampe, 24V |
| 100.0 | 57554644 | 2657554644 | Climatisation, ensemble |
| 103.0 | 57569444 | 2657569444 | Siège, opérateur |
| 104.0 | 57561854 | 2657561854 | Kit accoudoirs, siège cabine |
| 105.0 | 57561862 | 2657561862 | Socle, siège |
| 108.0 | 57561888 | 2657561888 | Charnière, boîte à outils cabine |
| 111.0 | 57561896 | 2657561896 | Fermeture, boîte à outils cabine |
| 114.0 | 57561870 | 2657561870 | Ensemble pivotant, siège |
| 132.0 | 57790826 | 2657790826 | Réservoir lave-glace, 5L, 24V |
| 136.0 | 57801268 | 2657801268 | Clapet anti-retour, tuyau lave-glace |
| 139.0 | 57674814 | 2657674814 | Adaptateur, bras d’essuie-glace |
| 140.0 | 57604936 | 2657604936 | Interrupteur, essuie-glace/lave-glace |
| 147.0 | 52106291 | 2652106291 | Moteur, essuie-glace |
| 149.0 | 52106325 | 2652106325 | Support pivot essuie-glace |
| 151.0 | 57690398 | 2657690398 | Couvercle, moteur d’essuie-glace |
| 152.0 | 57814683 | 2657814683 | Balai d’essuie-glace, 20" |
| 153.0 | 57745127 | 2657745127 | Balai d’essuie-glace, 28" |
| 154.0 | 57541146 | 2657541146 | Bras d’essuie-glace, 20" |
| 155.0 | 57541153 | 2657541153 | Bras d’essuie-glace, 28" |
| 156.0 | 52125838 | 2652125838 | Axe, pivot essuie-glace |
| 157.0 | 57541104 | 2657541104 | Bras d’entraînement essuie-glace |
| 158.0 | 57690414 | 2657690414 | Support soudé, essuie-glace |
TechCom propose un catalogue complet de pièces pour la foreuse Epiroc DM45, couvrant tous les composants nécessaires pour un entretien efficace et une exploitation continue de la machine.