Cookies
Our website uses cookies, including web analytics services. By using the site, you agree to the processing of personal data by cookies. For more information on the processing of personal data, please see our Privacy Policy.
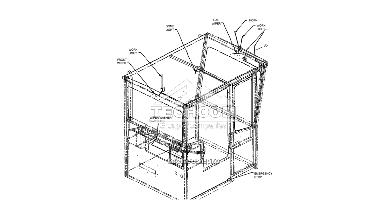
Part Number: 57752768 (2657752768)
The 57752768 (2657752768) Bare Cab is part of the operator’s station for the Epiroc DM45/L drill rig. It comprises side and rear windows, seals, doors, flooring, thresholds, foams, wiring harnesses, and operator elements such as the seat assembly, armrests, and climate control. Designed to withstand mining environments, this cab provides operator comfort, safety, and long-term reliability.
| Ref. No. | Part No. | Alt. Part No. | Description |
|---|---|---|---|
| 002.0 | 57540916 | 2657540916 | Glass, Window - Curb Side |
| 003.0 | 57540981 | 2657540981 | Rubber, Window Offset |
| 006.0 | 57561599 | 2657561599 | Glass, Window - Rear |
| 007.0 | 57540981 | 2657540981 | Rubber, Window Offset |
| 010.0 | 57561607 | 2657561607 | Glass, Window - Front |
| 011.0 | 57540981 | 2657540981 | Rubber, Window Offset |
| 020.0 | 57561615 | 2657561615 | Hinge Assembly, RH Hose Panel |
| 021.0 | 57561623 | 2657561623 | Hinge Assembly, LH Hose Panel |
| 024.0 | 57561631 | 2657561631 | Foam, Gasket |
| 027.0 | 57829301 | 2657829301 | Panel, Engine Functions |
| 031.0 | 54589866 | 2654589866 | Threshold, RH Door |
| 033.0 | 54589874 | 2654589874 | Threshold, LH Door |
| 035.0 | 57541013 | 2657541013 | Floor Mat, Front |
| 036.0 | 57561649 | 2657561649 | Floor Mat, Rear |
| 039.0 | 57766644 | 2657766644 | Door, Curbside, 2-Latch, Assembly |
| 042.0 | 57540973 | 2657540973 | Bolt, Striker |
| 043.0 | 57561672 | 2657561672 | Gas Spring, Door Curbside |
| 044.0 | 57561680 | 2657561680 | Stud, Door Spring |
| 046.0 | 57561698 | 2657561698 | Door Restraint |
| 051.0 | 57541005 | 2657541005 | Seal, Bulb - 90 Degree |
| 052.0 | 57561664 | 2657561664 | Door Assembly - Tower Side |
| 055.0 | 57561706 | 2657561706 | Holder Set - Door |
| 059.0 | 57540973 | 2657540973 | Bolt, Striker |
| 062.0 | 57541005 | 2657541005 | Seal, Bulb - 90 Degree |
| 063.0 | 57561714 | 2657561714 | Foam, Front |
| 064.0 | 57561722 | 2657561722 | Foam - Curb Side |
| 065.0 | 57540908 | 2657540908 | Glass, Window - Tower Side |
| 066.0 | 57561730 | 2657561730 | Foam - Tower Side |
| 067.0 | 57561748 | 2657561748 | Foam - Rear |
| 068.0 | 57540981 | 2657540981 | Rubber, Window Offset |
| 069.0 | 57561755 | 2657561755 | Foam - Roof, Rear |
| 070.0 | 57604845 | 2657604845 | Fastener, Tree |
| 071.0 | 57561763 | 2657561763 | Foam - Roof, Front |
| 072.0 | 57604845 | 2657604845 | Fastener, Tree |
| 073.0 | 57561771 | 2657561771 | Foam, Rear - Curb Side |
| 074.0 | 57561789 | 2657561789 | Foam, Rear - Tower Side |
| 075.0 | 57561797 | 2657561797 | Foam, Sides - Kick Plate |
| 076.0 | 57561805 | 2657561805 | Foam, Front/Rear - Kick Plate |
| 085.0 | 57561813 | 2657561813 | Harness, Wire - Cab |
| 086.0 | 57561821 | 2657561821 | Grommet - Roof |
| 090.0 | 54537139 | 2654537139 | Screw, Captive, Quick Open |
| 092.0 | 57588428 | 2657588428 | Hanger, Coat |
| 094.0 | 52106457 | 2652106457 | Louver, Aurora |
| 096.0 | 57561839 | 2657561839 | Dome Light, Roof |
| 097.0 | 58175019 | 2658175019 | Lamp, 24V |
| 100.0 | 57554644 | 2657554644 | Air Conditioner Assembly |
| 103.0 | 57569444 | 2657569444 | Seat, Operator |
| 104.0 | 57561854 | 2657561854 | Armrest Kit - Seat, Cab |
| 105.0 | 57561862 | 2657561862 | Pedestal - Seat |
| 108.0 | 57561888 | 2657561888 | Hinge, Tool Box, Cab |
| 111.0 | 57561896 | 2657561896 | Latch - Tool Box, Cab |
| 114.0 | 57561870 | 2657561870 | Swivel Assembly - Seat |
| 132.0 | 57790826 | 2657790826 | Bottle, Washer, 5L, 24V |
| 136.0 | 57801268 | 2657801268 | Valve, Check - Washer Hose |
| 139.0 | 57674814 | 2657674814 | Adapter, Wet Arm |
| 140.0 | 57604936 | 2657604936 | Switch, Wiper/Washer |
| 147.0 | 52106291 | 2652106291 | Motor, Wiper |
| 149.0 | 52106325 | 2652106325 | Pivot Mounting Plate Assembly |
| 151.0 | 57690398 | 2657690398 | Cover, Wiper Motor |
| 152.0 | 57814683 | 2657814683 | Wiper Blade, 20" |
| 153.0 | 57745127 | 2657745127 | Wiper Blade, 28" |
| 154.0 | 57541146 | 2657541146 | Wiper Arm, 20" |
| 155.0 | 57541153 | 2657541153 | Wiper Arm, 28" |
| 156.0 | 52125838 | 2652125838 | Shaft, Wiper Pivot |
| 157.0 | 57541104 | 2657541104 | Wiper Drive Arm |
| 158.0 | 57690414 | 2657690414 | Weldment, Wiper Bracket |
Explore the DM45 catalog to select the cab elements and accessories you need for efficient rig operation.
Our website uses cookies, including web analytics services. By using the site, you agree to the processing of personal data by cookies. For more information on the processing of personal data, please see our Privacy Policy.