La referencia 57752768 (265752768) corresponde a la cabina desnuda de la perforadora Epiroc DM45/L. Este conjunto incorpora desde cristales y juntas de estanqueidad hasta umbrales, alfombrillas y paneles de puerta, formando la base estructural donde se integran posteriormente los sistemas eléctricos, de climatización y de confort. Sirve como núcleo resistente de la cabina, asegurando protección y durabilidad en entornos mineros exigentes.
Lista de repuestos
| Núm. Ref. | Núm. de pieza | Núm. alt. | Descripción |
|---|---|---|---|
| 002.0 | 57540916 | 2657540916 | Cristal, ventana lateral |
| 003.0 | 57540981 | 2657540981 | Goma, ventana desplazada |
| 006.0 | 57561599 | 2657561599 | Cristal, ventana trasera |
| 007.0 | 57540981 | 2657540981 | Goma, ventana desplazada |
| 010.0 | 57561607 | 2657561607 | Cristal, ventana frontal |
| 011.0 | 57540981 | 2657540981 | Goma, ventana desplazada |
| 020.0 | 57561615 | 2657561615 | Bisagra, puerta lado derecho |
| 021.0 | 57561623 | 2657561623 | Bisagra, puerta lado izquierdo |
| 024.0 | 57561631 | 2657561631 | Espuma, junta |
| 027.0 | 57829301 | 2657829301 | Panel, funciones del motor |
| 031.0 | 54589866 | 2654589866 | Umbral, puerta derecha |
| 033.0 | 54589874 | 2654589874 | Umbral, puerta izquierda |
| 035.0 | 57541013 | 2657541013 | Alfombrilla, delantera |
| 036.0 | 57561649 | 2657561649 | Alfombrilla, trasera |
| 039.0 | 57766644 | 2657766644 | Puerta lado derecho, doble cierre |
| 042.0 | 57540973 | 2657540973 | Perno, cerradura |
| 043.0 | 57561672 | 2657561672 | Resorte, puerta lado derecho |
| 044.0 | 57561680 | 2657561680 | Perno, resorte puerta |
| 046.0 | 57561698 | 2657561698 | Retén, puerta |
| 051.0 | 57541005 | 2657541005 | Sello, bulbo 90° |
| 052.0 | 57561664 | 2657561664 | Puerta lado torre |
| 055.0 | 57561706 | 2657561706 | Soporte, puerta |
| 059.0 | 57540973 | 2657540973 | Perno, cerradura |
| 062.0 | 57541005 | 2657541005 | Sello, bulbo 90° |
| 063.0 | 57561714 | 2657561714 | Espuma, frontal |
| 064.0 | 57561722 | 2657561722 | Espuma, lateral |
| 065.0 | 57540908 | 2657540908 | Cristal, ventana lado torre |
| 066.0 | 57561730 | 2657561730 | Espuma, lado torre |
| 067.0 | 57561748 | 2657561748 | Espuma, trasera |
| 068.0 | 57540981 | 2657540981 | Goma, ventana desplazada |
| 069.0 | 57561755 | 2657561755 | Espuma, techo trasero |
| 070.0 | 57604845 | 2657604845 | Sujetador, plástico |
| 071.0 | 57561763 | 2657561763 | Espuma, techo delantero |
| 072.0 | 57604845 | 2657604845 | Sujetador, plástico |
| 073.0 | 57561771 | 2657561771 | Espuma, trasera lado derecho |
| 074.0 | 57561789 | 2657561789 | Espuma, trasera lado torre |
| 075.0 | 57561797 | 2657561797 | Espuma, placas inferiores |
| 076.0 | 57561805 | 2657561805 | Espuma, placas delanteras/traseras |
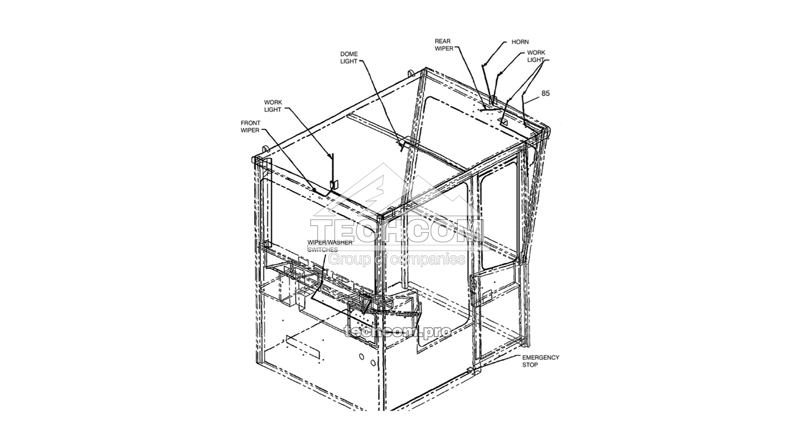
| 085.0 | 57561813 | 2657561813 | Arnés eléctrico, cabina |
| 086.0 | 57561821 | 2657561821 | Pasacables, techo |
| 090.0 | 54537139 | 2654537139 | Tornillo, apertura rápida |
| 092.0 | 57588428 | 2657588428 | Percha, abrigo |
| 094.0 | 52106457 | 2652106457 | Rejilla, ventilación |
| 096.0 | 57561839 | 2657561839 | Luz de techo |
| 097.0 | 58175019 | 2658175019 | Lámpara, 24V |
| 100.0 | 57554644 | 2657554644 | Aire acondicionado, conjunto |
| 103.0 | 57569444 | 2657569444 | Asiento, operador |
| 104.0 | 57561854 | 2657561854 | Kit de reposabrazos, asiento cabina |
| 105.0 | 57561862 | 2657561862 | Pedestal, asiento |
| 108.0 | 57561888 | 2657561888 | Bisagra, caja de herramientas cabina |
| 111.0 | 57561896 | 2657561896 | Cierre, caja de herramientas cabina |
| 114.0 | 57561870 | 2657561870 | Conjunto giratorio, asiento |
| 132.0 | 57790826 | 2657790826 | Depósito, limpiaparabrisas, 5L, 24V |
| 136.0 | 57801268 | 2657801268 | Válvula antirretorno, manguera limpiaparabrisas |
| 139.0 | 57674814 | 2657674814 | Adaptador, brazo limpiaparabrisas |
| 140.0 | 57604936 | 2657604936 | Interruptor, limpiaparabrisas |
| 147.0 | 52106291 | 2652106291 | Motor, limpiaparabrisas |
| 149.0 | 52106325 | 2652106325 | Placa soporte, pivote limpiaparabrisas |
| 151.0 | 57690398 | 2657690398 | Cubierta, motor limpiaparabrisas |
| 152.0 | 57814683 | 2657814683 | Escobilla, 20" |
| 153.0 | 57745127 | 2657745127 | Escobilla, 28" |
| 154.0 | 57541146 | 2657541146 | Brazo, limpiaparabrisas 20" |
| 155.0 | 57541153 | 2657541153 | Brazo, limpiaparabrisas 28" |
| 156.0 | 52125838 | 2652125838 | Eje, pivote limpiaparabrisas |
| 157.0 | 57541104 | 2657541104 | Brazo de transmisión, limpiaparabrisas |
| 158.0 | 57690414 | 2657690414 | Soporte soldado, limpiaparabrisas |
TechCom suministra cabinas completas y repuestos originales para la Epiroc DM45. Consulte el catálogo DM45 para encontrar cristales, sellos, puertas y sistemas de confort de cabina.